當前位置:離心泵廠家 / 新聞動態 / 公司新聞 / 不銹鋼電動隔膜泵工作原理結構圖及…
電動隔膜泵現在是一種新型泵,其特點是不需要灌溉或引水。隔膜材料的突破及其強大的自吸能力使其適用于石油化工、陶瓷、冶金等行業。不銹鋼電動隔膜泵為容積泵,其工作原理與氣動隔膜泵基本相同,但電動隔膜泵的原理區別在于功率轉換。
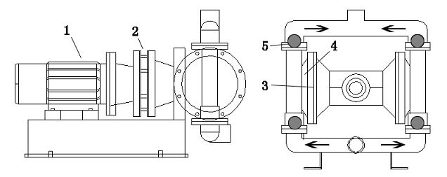
不銹鋼電動隔膜泵工作原理,見下圖:

不銹鋼電動隔膜泵工作原理結構圖
1、通過減速機。
2、主軸帶動偏心輪和大軸承偏心旋轉,泵體骨架連桿軸由偏心輪和大軸承帶動往復運動。連桿軸左右兩端的膜片。
3、因此,進行左右往復運動。左右有兩個泵室。
4、每臺配備兩組單球閥,一套在另一套之上。
5、泵腔內的容量因隔膜的左右運動而有規律地變化。強制四個單球閥交替打開和關閉以吸入和排出液體以產生流體。這就是電動隔膜泵的工作原理。KYD電動隔膜泵的工作原理是以骨架連桿軸為往復軸,輸出軸為整條長軸,長軸采用雙軸承運轉,區別于常規的DBY電動隔膜泵泵。變化。偏心輪為獨立運行設計,保證電力隔膜泵受力穩定,運行快速安 全。
電動隔膜泵和氣動隔膜泵工作原理的區別在于它們的動力源不同。電動隔膜泵的動力由電機提供,運行平穩。即使安裝了無級調速和變頻調速,電動隔膜泵工作原理的往復行程切換也可以通過偏心輪的勻速旋轉來自然切換,這是氣動隔膜泵無法實現的。
KYD系列電動隔膜泵采用雙軸承全軸運行設計。另一方面,它保證了整機的平衡,解決了傳統電動隔膜泵的偏心環(偽偏心)。由短軸加工而成的車輪)。破題。整軸運轉是指電機的輸出由與減速機一體的長軸通過偏心輪和軸承驅動。雙軸承是指減速機的一根長軸上有兩個軸承以保證穩定性。
DBY系列不銹鋼電動隔膜泵的主要特點是不需要灌溉,可以讓直徑小于10毫米的顆粒和泥漿順利通過。流經泵體的介質按用戶要求分為鑄鐵、不銹鋼、襯膠;DBY電動隔膜泵可用于各種膠乳、有機溶劑、填料等。各種特殊介質的吸移。為避免瞬間流動,壓力下降過快,聯鎖裝置跳動。

DBY-65-50不銹鋼電動隔膜泵
本文鏈接:http://m.shebaolyg.cn/content-27-125.htm相關新聞
不銹鋼電動隔膜泵開辟流體傳輸新紀元2024-07-16
在現代化的工業流體處理場景下,不銹鋼電動隔膜泵憑借其出色的耐用性能與集成的zhi能化功能,正在重新定義高…
不銹鋼電動隔膜泵技術創新與應用多元化2024-07-16
在當今制造業的舞臺上,隔膜泵作為流體處理領域的重要設備,其創新與發展離不開背后那些致力于技術突破與應…
不銹鋼電動隔膜泵工作特性與在化工行業的適應性研究2024-06-20
電動隔膜泵憑借其的構造與工作特性,在jing細化工行業展現出jigao的適應性。由新光明不銹鋼電動隔膜泵廠家總結…
不銹鋼電動隔膜泵的耐腐蝕性2024-05-10
不銹鋼電動隔膜泵具有耐腐蝕、適用廣泛、可靠穩定等優勢,是處理特殊介質的一種重要設備。由新光明不銹鋼電…
關于不銹鋼電動隔膜泵的一些特點和優勢2024-05-10
不銹鋼電動隔膜泵通常被設計用于處理對材料要求嚴格的介質,如腐蝕性介質、高溫介質、粘稠介質等。由新光明…
如何操作電動隔膜泵2023-06-06
?由于電動隔膜泵的特殊性質和操作方式等多方面因素的影響,使用電動隔膜泵需要遵循一些操作要求。下面,我…
電動隔膜泵在工業中和各種制造業領域2023-06-06
電動隔膜泵是一種常用的工業泵,廣泛應用于各種制造業領域,特別是化工、印染、油田、食品和制藥行業。電動…
電動隔膜泵:可靠的化工流體輸送裝置2023-05-30
電動隔膜泵是廣泛應用于化工行業的一種流體輸送裝置,由于其高效、低成本、易于維護等優點,成為了化工流體…